HVRZN 731 701
NAMUR biztonsági szelep, manuális üzemmódú vezérléssel
Egyedi igények rögzítésére a rendelésösszesítő felületen van lehetőség
HVRZN 731 701
NAMUR biztonsági szelep, manuális üzemmódú vezérléssel
Kérjük regisztráljon a 3D modellek és termék adatlapok letöltéséhez.
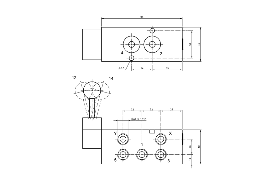
| Vezérlés: | kézi, karos működtetésű |
|---|---|
| Funkció: | 7/3-as |
| Csatlakozás: | G 1/4" |
| Hőmérséklet tartomány: | -10°C…+50°C |
| Helyzetstabilitás: | 3-állású zárt |
| Átáramlás (P1=6 bar, ΔP=1 bar): | 1250 l/perc |
| Biztonsági kivitel: | NAMUR szelepekhez |
| Csatlakozások elhelyezkedése: | szelep két oldalán/egymással szemben |
| Közeg: | sűrített levegő |
| Működtető erő: | 20 N |
| Szelepház anyaga: | alumínium |
| Szelep változat: | különálló szelep |
| Üzemi nyomás: | 1…10 bar |












